作者:W=T=T
来源:风财讯
当前无论土地市场还是楼市,“国字头”玩家毫无疑问是主角,在某些城市它们甚至能包揽所有角色。但也正因如此,现在还能“逆袭冲榜”的民营企业,值得引起关注。
例如在2026年1月全国操盘销售额TOP100的房企中,来自青岛的和达置业(下称和达集团),就以4.7亿元的销售额冲进第63名,首次进入全国百强,并超过了合肥城建、香印城建等一大批“城建”类地产国企。

“诡异”三强背后
“掉价最狠楼盘”被割肉收购?
实际上,在青岛本地1月房企销售业绩排行榜上,和达集团同样惊艳,位列第二。只不过,同时登榜TOP3的还有融创、绿城,这让大家产生了疑惑。

“了解青岛市场的人都知道,这三家房企在青岛的在售项目很少,它们竟然排名前三,堪称诡异的一幕。”一位青岛资深地产人士表示,楼市光看数据是不行的。
这背后,凤凰网风财讯注意到,2月28日,青岛发布了最新“配售型保障性住房”配售选房通告,涉及和达·智慧生态城璞园和瑾园的85套房源;2025年11月22日,青岛市住建局启动全省首个“收购存量房作保障房”项目,收购对象是和达·智慧生态城玥园和瑜园的88套存量商品房。

“政府出手”似乎为和达·智慧生态城冲量去库存,提供了极大的助力。不过资料显示,和达·智慧生态城被收购的房源配售基准价分别为4402元/平方米和4946元/平方米。而该楼盘在各大网站的标价为在售15000元/平方米。
冲量背后是否价格“割肉”了呢?上述青岛业内人士并不这么认为,其指出,和达智慧生态城一度被称为“青岛城阳房价掉最狠的小区”之一。比如小区2020年时80㎡-90㎡中间户房源普遍售价在130万-140万,有些工抵房卖120万;2023年同户型现房就已经只卖80万了,还不是很好卖。这种情况下,政府能介入已经算好的。
“毕竟和达智慧生态城在青岛城阳区的夏庄板块,不属于市区,位置较偏,环境不错但学区等很多配套待完善,去化慢。”上述业内人认为,和达过去三年虽发展艰难但还是开展了十多个项目的交付,相比一些早已躺平的青岛老牌房企,已经算负责的了。
和达控股一年欠税数百万
集中转让股权给子公司“换壳”?
资料显示,和达智慧生态城由青岛和达金时代置业有限公司和青岛和达信德置业有限公司建设,这两家公司仍由“和达控股集团”控股。
但凤凰网风财讯注意到,和达集团在2025年集中退出了8家子公司,接盘公司则充满“空壳”迹象。

例如,青岛和达创时代置业有限公司、青岛和达创世纪置业有限公司,都在2025年4月7日左右转让给了青岛炎晟坤舆科技投资有限公司,该公司成立于2025年3月27日,仅比接盘时间早11天。
青岛和达置地有限公司则在2025年6月11日,转让给了成立于当年4月28日的青岛圭泓再生资源有限公司及子公司,注册资本10万,股东为徐国际、徐国立。
青岛和达金控发展有限公司、青岛和达资产管理有限公司、青岛和达创智投资有限公司、连云港格旭信息科技有限公司、青岛和达城市发展有限公司也均在2025年被转让给多家当年成立的新公司。
不同寻常的是,这些新公司,成立时间短、注册资金少(8万-10万)、股东均为自然人,并且它们在短时间成立后,集中快速接盘了和达控股旗下8家子公司。
“不排除这些公司只是壳,接收和达公司还有价值的土地或其它资产,母公司则承接债务、应对诉讼或寻找新买家。有些老板为了‘债务和资产隔离’会这么操作。”
一位从事房企破产重组的律师指出,如此操作让纠纷只锁定在旧主体内、新成立的公司轻装上阵,结果是当公司宣布“主体暴雷”,或许最后投资人、购房者才发现它早就没什么可执行的资产了,核心项目都已经被转移走了。
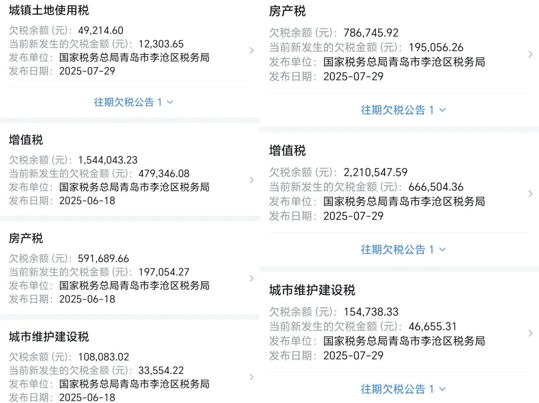
天眼查显示,和达控股集团有限公司目前存在96项被告司法纠纷;2025年内立案标的的被执行总金额近7200万元;仅2025年内的公告欠税额就高达704万元(含土地使用税、房产税、增值税、城市维护建设税等),的确风险不少。

从专攻“巨无霸”到多项目延期搁浅
徐兆波的野心与难题
和达集团创始人为徐兆波,其1993年在青岛李沧区成立“青岛李沧顺达工贸有限公司”,后更名为“青岛和达建筑安装有限公司”开始从事建筑安装、土石方工程,算一只脚踏进了房地产行业。
凭借够吃苦,徐兆波在早期啃下了青岛大量的市政基础项目的参建机会,包括胶州湾跨海大桥、胶州湾隧道、青岛胶东国际机场高速等。2004年,徐兆波成立和达置业,正式杀入地产开发,专攻城乡结合部的“巨无霸”项目。尤其是2007年“青岛李沧东部片区首个生态居住大盘”让和达一战成名。
2012年徐兆波又拿下了市北区新都心和达中心城(超百万方综合体),开辟资产运营新航道。2022年和达正式更名为“和达控股集团有限公司”希望实现多元化发展。从住宅进军到商业,再到物流园区(和华科技物流小镇)、VR产业(青岛国际虚拟现实产业园)。
不过在行业调整周期,无论哪种业态都面临巨大难度。住宅方面,领导留言板信息显示,和达智慧生态城、和达北岸、和达虹湾等和达集团在青岛城阳区的项目,曾一度面临工程进度缓慢、项目停工、延期或无法交房等困境。

例如,青岛热搜上就有市民投诉“和达智慧生态城幼儿园停工”,青岛市教育局调查表示,该幼儿园因建设单位资金紧张处于停工状态,教育部门将督促企业筹集资金尽快复工、完工。
商业领域,和达集团曾经拿下青岛秦岭路17号的核心地段,规划打造被称为“青岛曼哈顿”的总部地标项目。但项目2020年就公示了规划,至今却没有建设进展,甚至项目旁边的“青岛财富金融综合创新中心”今年都快交付了,和达的秦岭路17号项目始终“岿然不动”。
值得一提的是,该项目所属的青岛和达顺成投资管理有限公司(原名青岛三青房地产开发有限公司)的母公司青岛和达资产管理有限公司已经在2025年中被转让给了同年成立的新公司“青岛玄鉴安全管理咨询有限公司”。
只不过,这到底是将地标项目拱手相让,还是老板的“左手倒右手”和责任逃避;徐兆波的野心能否解决摆在眼前的重重难题,都还需要市场和时间的回答。
来源丨凤凰网风财讯
作者丨W=T=T
版权丨凤凰网房产风财讯
主编|王婷婷
注:文章为作者独立观点,不代表资产界立场。
题图来自 Pexels,基于 CC0 协议
本文由“风财讯”投稿资产界,并经资产界编辑发布。版权归原作者所有,未经授权,请勿转载,谢谢!

风财讯 











